oldradio.pl katalog starej radiotechniki
 
 
Karta katalogowa nr 646
liczba wyświetleń: 7264
Producent: Eltra
Model: Upominek
Rodzaj sprzętu: Radioodbiornik
Klasyfikacja: przenośny mono
Zakresy: D
Kraj: Polska
Rok produkcji: 1974
Zasilanie: bateryjne
Elementy aktywne: tranzystory
2 tranzystory + ukł. scalony
Opis:
Radio w formie drewnianej szkatułki z ozdobną pokrywą. Produkowane w niewielkich ilościach (ok. 500 szt.) w latach 70. XX wieku.
Odbiornik ustawiony był na stałą częstotliwość i odbierał tylko Polskie Radio Program I z Warszawy na falach długich. Używany był jako prezent dla ważnych gości, odwiedzających fabrykę.

"Upominek" był produkowany w dwóch odmianach.

Upominek 1 - szkatułka dwukomorowa.
Upominek 2 - szkatułka jednokomorowa.
Inne materiały:
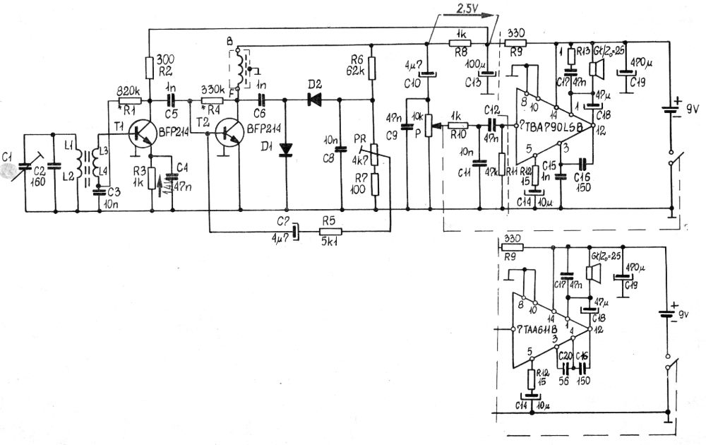
Schemat   

(1) 2010-07-06, flatron151 z Allegro, Radio Upominek

(2) 2010-07-06, flatron151 z Allegro, Radio Upominek

(3) 2010-07-06, flatron151 z Allegro, Radio Upominek

(4) 2010-07-06, flatron151 z Allegro, Radio Upominek

(5) 2010-07-06, flatron151 z Allegro, Radio Upominek

(6) 2011-06-04, autor nieznany, Upominek 1

(7) 2011-06-04, autor nieznany, Upominek 2