oldradio.pl katalog starej radiotechniki
 
 
Karta katalogowa nr 403
liczba wyświetleń: 4759
Producent: Radiotehnika
Model: Gauja
Rodzaj sprzętu: Radioodbiornik
Klasyfikacja: przenośny mono
Zakresy: D,S
Kraj: Łotwa
Rok produkcji: 1962
Zasilanie: bateryjne
Wymiary: 162x98x39mm / ok.600G
Elementy aktywne: tranzystory
tranzystory 6
Opis:
Okrągłe, duże pokrętło skali. Stopień mocy przeciwsobny.
Inne materiały:
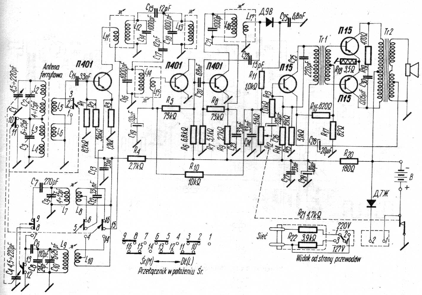
Schemat   

(1) autor nieznany, Gauja

(2) autor nieznany, Gauja

(3) autor nieznany, Gauja