oldradio.pl katalog starej radiotechniki
 
 
Karta katalogowa nr 341
liczba wyświetleń: 11489
Producent: Eltra
Model: Koliber MOT 601
Rodzaj sprzętu: Radioodbiornik
Klasyfikacja: przenośny mono
Zakresy: D,S
Kraj: Polska
Rok produkcji: 1961
Zasilanie: bateryjne
Wymiary: 160x90x38, ok. 0,5kG
Elementy aktywne: tranzystory
OC72x2, tranzystory 6
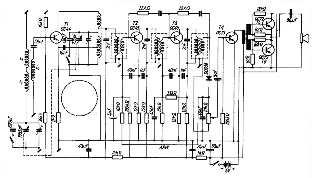
Opis:

Pierwszy masowo produkowany odbiornik tranzystorowy w Polsce. Lekka modyfikacja Eltry MOT-59 i pierwszego radia o nazwie Koliber, czyli Koliber MOT 59-1. Duże, okrągłe pokrętło do strojenia na ściance czołowej. Na falach średnich - pełny zakres, na falach długich odbiór tylko Warszawy I (227kHz). Zasilanie 6V (4x1,5V). Wzmacniacz mocy przeciwsobny około 80 mW - w niektórych egzemplarzach już na krajowych tranzystorach TG5 i TG50x2.

Prezentowany w lutym 1961 r. na I Krajowej Wystawie Podzespołów Radiowych w Warszawie. Wzmianka w RA-4/61/132. Opis w RiK 9/1961.

Na jednym ze zdjęć oryginalne pudełko z odbiornika.

Inne materiały:
Schemat   Reklama   

(1) 2009-11-25, Marek Habrat, Koliber

(2) 2009-10-22, Jan Barczyński, Koliber w opakowaniu

(3) 2009-11-25, Marek Habrat, Płytka montażowa

(4) 2008, Wojciech Górski, Opakowanie fabryczne

(5) 2009-11-25, Marek Habrat, Koliber

(6) 2012.06, T. Rutkowski, Koliber, prod. 05.1962

(7) 2012.06, T. Rutkowski, Koliber, prod. 05.1962

(8) 2012.06, T. Rutkowski, Koliber, prod. 05.1962

(9) 2012.06, T. Rutkowski, Koliber, prod. 05.1962