oldradio.pl katalog starej radiotechniki
 
 
Karta katalogowa nr 152
liczba wyświetleń: 14059
Producent: Omig
Model: Tramp
Rodzaj sprzętu: Radioodbiornik
Klasyfikacja: przenośny mono
Zakresy: D,S
Kraj: Polska
Rok produkcji: 1963
Zasilanie: bateryjne
Wymiary: 68x103x33 / 235G z baterią
Elementy aktywne: tranzystory
TG5x2, tranzystory 6
Opis:

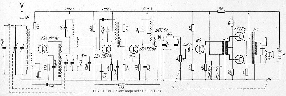
TRAMP, opisany po raz pierwszy w RAiK 6/1964 "Subminiaturowy odbiornik tranzystorowy", był w tym czasie chlubą polskiej radiotechniki. Wprawdzie w torze w.cz. i p.cz. zastosowano japońskie tranzystory typu 2SA102, japońskie były również filtry p.cz. i prawie wszystkie kondensatory ale już zapowiadano: "na podkreślenie zasługuje fakt, że w niedługim czasie TRAMP będzie produkowany z polskich podzespołów subminiaturowych, nie ustępujących dotychczas stosowanym podzespołom japońskim". Do zasilania zastosowano wprowadzoną właśnie do produkcji baterię 9-woltową (Centra typ EF-20). Na jednym ze zdjęć do porównania wielkości odbiornika posłużyła chluba polskiego przemysłu tytoniowego lat 60-tych, papierosy "Silesia".

TRAMP to ulepszona wersja jednozakresowego odbiornika "Migo" (ten sam zestaw tranzystorów, podobny układ elektryczny). Dodane zostały fale długie (tylko Warszawa I - 227 kHz) i drucianą podpórkę do ukośnego postawienia odbiornika. Cena 1600 zł.

W 1958 r. odbiornik tranzystorowy o nazwie Tramp wspominany był w zapowiedziach produkcyjnych firmy Diora. O efektach brak wiadomości.

Inne materiały:
Schemat   

(1) autor nieznany, Tramp - Omig

(2) autor nieznany, Tramp

(3) autor nieznany, Tramp